製品情報

PRODUCTS

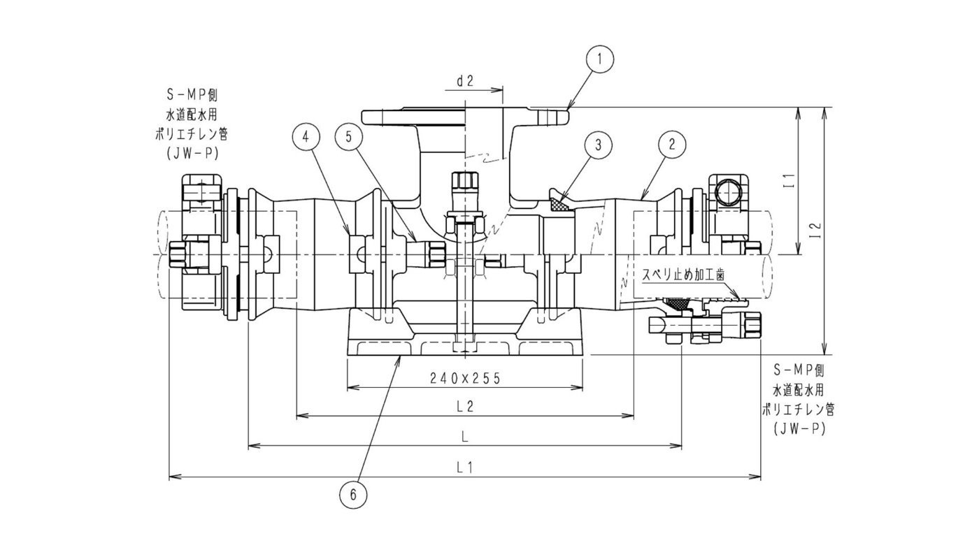
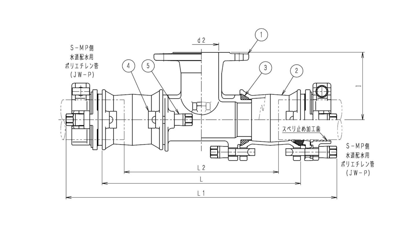
スッポンMシステム 

スッポンMTFシステム-P

主管・既設管:水道配水用ポリエチレン管(ISO-P)  ×  枝管・取り出し管:フランジ

略称:S-MTF・ST-P  S-MTF・ST台付-P





仕様 各部寸法 フランジ
(RF)
呼び径 L L1 L2 I d2
ISO-P75×75(F)
442
582 344〜234
150 77 JIS7.5

注)L2MAXは、パイプの規定挿入量を基にして算出。
※特殊フランジについてはお問い合わせ下さい。


一覧に戻る