製品情報

PRODUCTS

スッポンMジョイント 

スッポンMV-I

〔メカ形ドレッサーV・C〕 塩ビ管・鋼管/ポリ管(JIS)・SUS管 × ダクタイル鋳鉄管

略称:S-MV-I



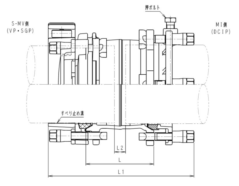
仕様 各部寸法
呼び径 L1 L2
200 394 31
300 476 38

呼び径350~500VU・VM管用は大口径用を参照下さい。
注)L2はパイプ挿入量を基にして算出。


一覧に戻る