製品情報

PRODUCTS

大口径スッポンMジョイント 

スッポンMG-F

〔メカ形フランジ短管〕 鋼管

略称:S-MG-F



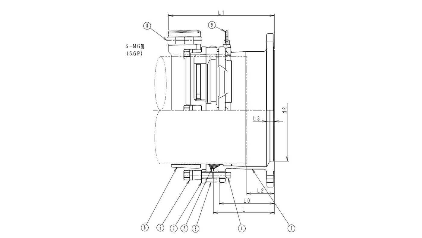
仕様 各部寸法 フランジ
(RF)
呼び径 L L0 L1 L2 L3 d2
350
210 191 356 116 22 350 JIS7.5
400
220 200 370 120 25 400
450
230 210 380 125 26 450
500
240 220 390 135 27 500

※特殊フランジの場合はご指定ください。


一覧に戻る